70KN Standard Suspension Tempered Glass Insulator
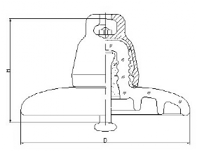
Technical Parameters
These are the technical parameters of our products. The table details various specifications such as minimum mechanical failure load, height, diameter, and different voltage - related indicators for different models. Accompanied by a structural diagram, it comprehensively presents the performance and structural characteristics of the Insulators, providing a solid basis for understanding their technical attributes.


High-quality raw materials and meticulous craftsmanship
High - quality raw materials and meticulous craftsmanship are the cornerstones of our products. As depicted in the picture, the careful handling of the product reflects our strict adherence to every production detail, ensuring that each product boasts excellent quality and performance.

Product photos 70KN
Here are the product photos of the 70KN insulators. You can clearly see their detailed structures from different angles. These insulators are well - prepared for the subsequent bundle tensile test, which is essential to verify their mechanical performance and reliability.

Preparation of bundle tensile test
These pictures depict the preparation for the bundle tensile test. A large number of insulators are neatly arranged, getting ready for the test. The orderly arrangement ensures that the subsequent bundle tensile test can be carried out smoothly, which is crucial for verifying the mechanical properties and reliability of the insulators.

Bamboo packaging

Wooden frame packaging
We adopt wooden frame packaging for our products. As shown in the pictures, the Glass Insulators are securely placed in wooden frames. This packaging method not only provides robust protection to prevent damage during transportation but also ensures the insulators are neatly arranged, making storage and handling more convenient.



Adequate inventory and timely delivery
We have adequate inventory of our products, as can be seen from the large quantities of goods neatly stored in the warehouse in the left picture. And we ensure timely delivery—just like the truck in the right picture, which is being loaded and ready to send the products to customers promptly, meeting their demands without delay.


Product application cases
These pictures showcase our product application cases. You can see our insulators being effectively utilized in high-voltage transmission towers. They play a crucial role in ensuring the safe and stable operation of power transmission lines, demonstrating excellent performance in practical power engineering scenarios.














